1 概述
1.1 版本
| 服务器版本 | 功能变更 |
|---|---|
| v7.5.0及以上版本 | |
| v8.0.0 | [模板操作日志]菜单更名为[模板操作],并作为二级菜单展示 |
1.2 功能简介
模板操作日志是系统的重要审计功能,用于详细记录用户在系统中对各类模板执行的操作行为。该功能主要服务于以下场景:
- 操作审计:完整记录用户对模板的所有操作行为
- 变更追踪:追踪模板的查看、修改、删除等操作历史
- 安全监控:监控敏感操作和异常行为
- 问题定位:协助排查模板使用过程中的问题
2 功能介绍
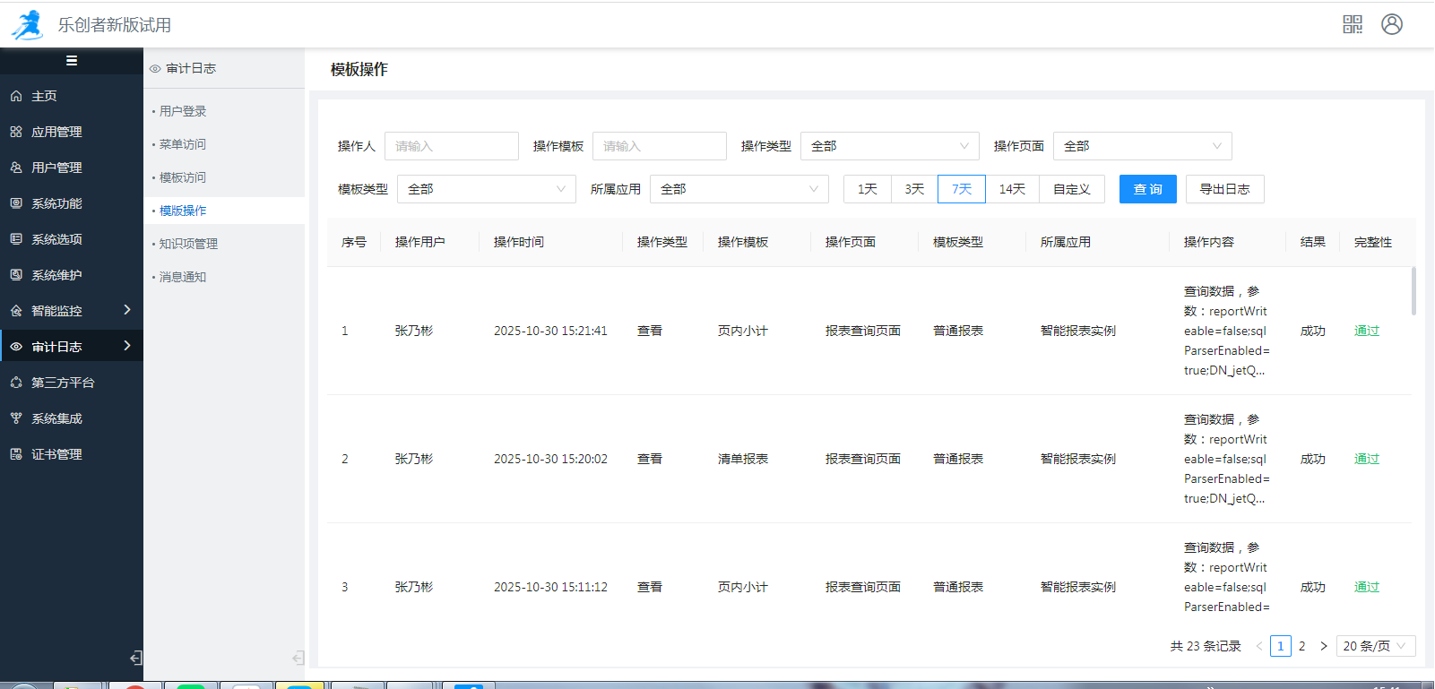
系统管理员登录系统后,执行[审计日志>模板操作]菜单,如下图:
可以知晓某用户对某个模板什么时候进行了某些操作以及操作结果。
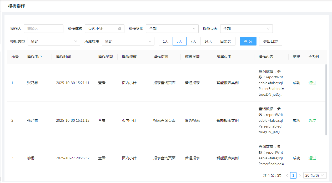
另外,还可以根据用户姓名、模板名称、操作类型(包括查看、提交、导出、打印、链接)、操作页面(包括列表页面、新增页面、修改页面、详情页面、报表查询页面、报表填报页面)以及访问时间等条件对数据进行筛选,查看符合条件的数据。比如,查看近3天用户对“页面小计”模板的操作记录,查询结果如下图:
模板操作日志记录会按照设置的保留天数(平台管理员通过“智能监控>监控配置”菜单配置)进行定时清除。
另外,还提供了模板操作日志的导出功能,可将查询的模板操作日志导出Excel,用于数据的备份。
作者:fancy 创建时间:2025-10-29 17:28
最后编辑:fancy 更新时间:2026-05-08 18:14
最后编辑:fancy 更新时间:2026-05-08 18:14
———— 本文档对您有帮助吗?或有错误,恳请 反馈 ————
