1 概述
1.1 版本
| 服务器版本 | 功能变更 |
|---|---|
| v7.5.0及以上版本 | |
| v8.0.0 | [菜单访问日志]菜单更名为[菜单访问],并作为二级菜单展示 |
1.2 功能简介
菜单访问日志用于记录和查看用户在系统中访问各个菜单的记录。通过该功能,您可以:
- 追踪用户操作行为
- 审计系统使用情况
- 分析菜单使用频率
- 监控异常访问行为
2 功能介绍
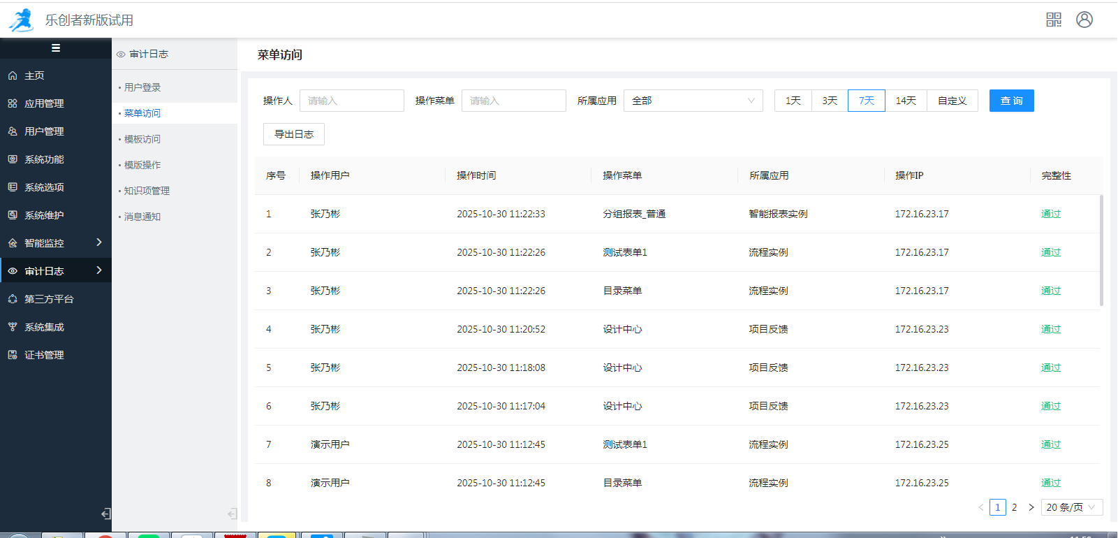
系统管理员登录系统后,执行[审计日志>菜单访问]菜单,如下图:
可以知晓某用户访问的菜单、访问时间、菜单的所属应用、用户IP地址以及完整性校验结果。
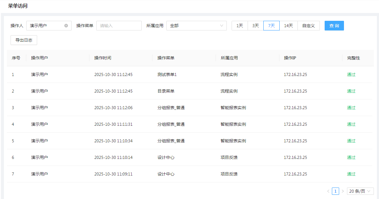
另外,还可以根据用户姓名、菜单名称、所属应用以及访问时间对数据进行筛选,查看符合条件的数据。比如,仅查看“演示用户”近7天访问的菜单,则操作人输入“演示用户”、时间选择“7天”,查询结果如下图:
菜单访问日志记录会按照设置的保留天数(平台管理员通过“智能监控>监控配置”菜单配置)进行定时清除。
另外,还提供了菜单访问日志的导出功能,可将查询的菜单访问日志导出Excel,用于数据的备份。
作者:fancy 创建时间:2025-10-29 17:26
最后编辑:fancy 更新时间:2025-11-05 18:39
最后编辑:fancy 更新时间:2025-11-05 18:39
扫码关注网盛数新公众号,获取更多帮助资料