1 概述
1.1 版本
| 服务器版本 | 功能变更 |
|---|---|
| v6.9.4 | [模版执行日志]菜单更名为[模版执行],并挂到[系统日志]菜单下 |
| v8.0.0 | [模版执行]菜单更名为[模版访问] |
1.2 功能简介
模板执行用于查看系统模板执行的日志信息,通过模板执行功能,平台管理员可轻松监控系统模板的运行情况,利于发现模板执行问题,且追溯归属,还原场景,及时处理解决。
2 功能说明
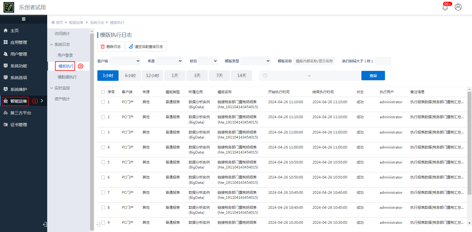
系统管理员登录系统后,执行[审计日志>模板访问]菜单,如下图:
由上图可以看到,除了模板基本信息外,还可以知晓访问该模板的客户端、访问来源、执行时间、执行人等信息。
支持根据访问客户端、访问来源、模板类型以及访问时间等条件查询数据。比如,仅查看模板类型为“单元格表单”的数据,则模板类型选择“单元格表单”即可,如下图:
还可以通过设置“执行时间大于”参数输入一个值,能够快速筛选出执行较慢的模板,然后通过模板信息查找到对应的模板进行问题分析。
默认执行日志记录会按照设置的保留天数进行定时清除。
作者:fancy 创建时间:2023-12-04 09:34
最后编辑:fancy 更新时间:2025-12-04 11:16
最后编辑:fancy 更新时间:2025-12-04 11:16
扫码关注网盛数新公众号,获取更多帮助资料