1 概述
1.1 版本
| 服务器版本 | 功能说明 |
|---|---|
| v7.1.0 | |
| v7.3.0 | 扩充“消息日志”菜单功能 |
1.2 功能简介
在网络安全工作中,三员管理是确保系统安全、数据保密和合规性的关键策略。通过将系统管理权限分为配置、授权、审计三种相互独立、相互制约的权限,由不同的人员担任相应角色,可以有效避免单一用户拥有系统所有权限的风险,从而提高系统的安全性。
其中,审计管理员是其中的一员,主要负责对系统的安全进行检测、评估、发现问题并解决问题。
2 功能说明
1、老版门户访问方式
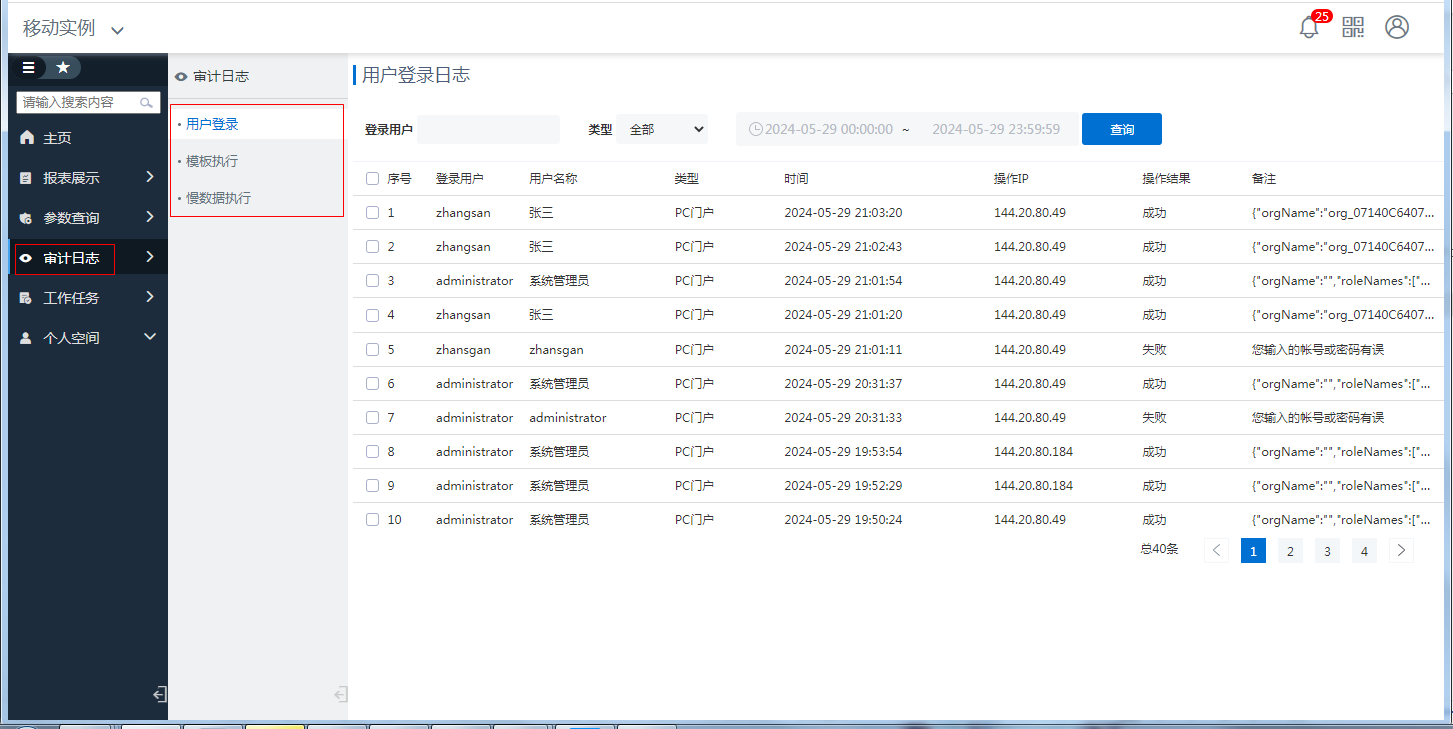
普通用户访问老版门户时,只要拥有“审计管理员”角色(授权配置可参考“系统角色授权”章节),登录系统将显示“审计日志”菜单,如下图:
拥有的功能同系统管理员的“审计日志”功能,包括:用户登录、模板执行、慢数据执行、消息日志。
不区分应用,切换任何应用均可访问审计日志。
注:目前仅老版门户支持直接访问该功能。
2、新版门户访问方式
普通用户需要使用新版门户访问审计日志功能,除了为用户赋予“审计管理员”角色,还需要配置菜单并分配菜单权限,菜单配置如下:
功能来源选择“网页地址”;
网页地址填写如下链接:
welcome?hideHeader=true&hideLeftMenu=true&singleAppMode=true&curVolumeName=&selFuncId=dn_fd_t_mr_log
正常为该用户分配该菜单的访问权限,用户在新版门户进入对应应用即可访问审计日志功能。
[操作日志查询]
时间范围 [2025-06-01] 至 [2025-06-20] ▼
操作人 [请输入姓名] ▼
操作类型 [全部] ▼
操作模块 [全部] ▼
[查询] [重置]
| 序号 | 操作时间 | 操作用户 | 操作类型 | 操作模块 | 操作页面 | 操作内容 | 操作结果 |
|---|---|---|---|---|---|---|---|
| 1 | 2025-06-03 17:07 | 黑心字 | 查看 | 资产管理 | 资产详情 | 查看资产JT-FC-000006详情 | 成功 |
| 2 | 2025-06-03 16:30 | 周小宇 | 导出 | 资产管理 | 全量资产列表 | 导出Excel(过滤:资产状态=生产运营) | 成功 |
| 3 | 2025-06-03 15:22 | 张三 | 修改 | 资产管理 | 资产变更 | 修改资产JT-FC-000006(字段:资产状态[办公日用→经营出租]) | 成功 |
共325条 < 1/33 > 10条/页
[导出日志]
作者:fancy 创建时间:2024-05-29 21:08
最后编辑:fancy 更新时间:2025-12-04 11:16
最后编辑:fancy 更新时间:2025-12-04 11:16
扫码关注网盛数新公众号,获取更多帮助资料