1 概述
报表中数据是横向扩展的,超过一页的数据会显示在下一页,可能会存在很多空白区域,不美观且浪费纸张。
可以通过分栏报表进行优化显示效果,分栏报表支持两种分栏方式:
1)先行后列:适合数据是纵向扩展的场景,超过一定行,就在第2列中显示,并且每列数据都有列表头,可以实现多页数据在同一页中显示的效果。
2)先列后行:适合数据是横向扩展的场景,超过一定列后分栏显示,可以实现横向扩展自动换行的效果。
2 示例效果
以企业税额为例,使用列表分栏方式展示,效果如下图:
3 制作步骤
3.1 模板准备
制作一张简单的清单报表,如下图:
清单报表设计具体参考:清单报表
在没有设置分栏之前,我们先预览下效果:
3.2 分栏设置
分栏报表重点讲解下如何进行分栏设置,该实例的分栏设置如下:
1)开启分栏:必须勾选,表明这是一张分栏报表了;
2)分栏方向:分栏方向有两种,“先行后列”和“先列后行”,这里应该选择“先行后列”,意思是,先把行填满了再扩充到列;
3)分栏数:示例效果可以看到,我们需要形成3个栏目,所以,填写3;
4)插入列模式:分栏进行扩充的栏目的列(第二栏目列),并不是预先在设计器中设置好的,而是系统自己插入或增加的,所以,这里要勾选“插入列模式”;
5)标题区域:需要参与分栏的区域,设置为“B2:E2”;
6)数据区域:需要参与分栏的数据区域,设置为“B3:E3”;
7)补充空白行:需要勾选“补空白行”。
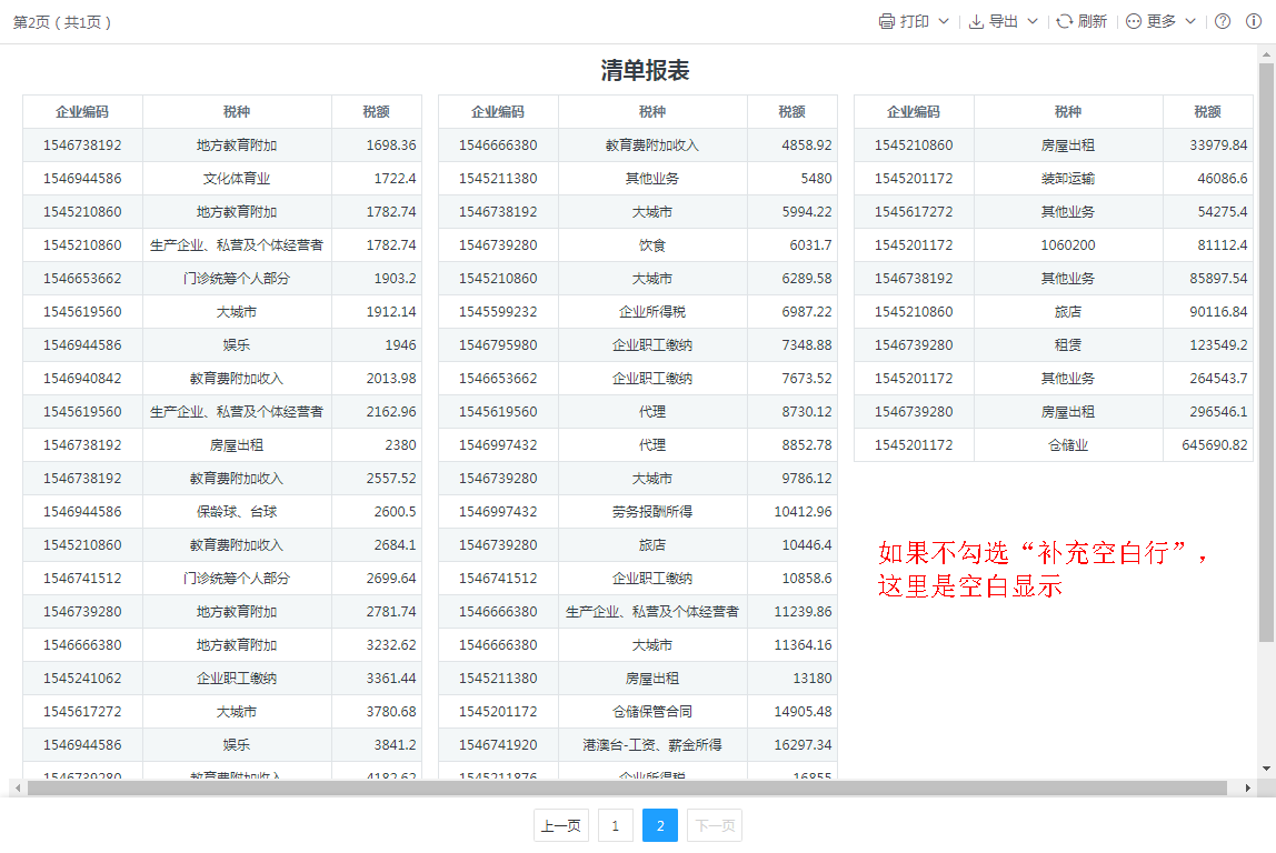
如果不勾选“补空白行”,那么,报表最后页您将看到的是如下图的效果:
而如果勾选了“补空白行”,则是如下的效果:
4 总结
1)上述配置比较精密,避免配置错误;
2)工作表必须要分页;
3)不允许工作表含页尾;
4)工作表底部勿留空白行:一旦留有空白行,则会导致最后页为一空页;
5)“补空白行”所补的空白内容的格式参照,有如下规则:
当您勾选了“补空白行”后发现仍旧没有看到空白行的时候需要理解下面的提示:
(1)补空行的起始列位置:标题区域中内容不为空的第一个单元格;
(2)补空行的结束列位置:标题区域中内容不为空的最后一个单元格;
(3)补空行的样式:边框的设置,以数据区域的第一个单元格设置为准。
5 实例地址
所属应用:智能报表实例
模板地址:应用空间\lczReport\初级教程\分栏报表_列表.hte
最后编辑:fancy 更新时间:2025-12-08 15:16
扫码关注网盛数新公众号,获取更多帮助资料