1 概述
导航关系默认是在同行或同列中自动搜寻构建的,如果需要对不在同行或同列内的单元格之间构建导航关系时,就需要用到强制指定纵向导航格或横向导航格来实现。
2 示例效果
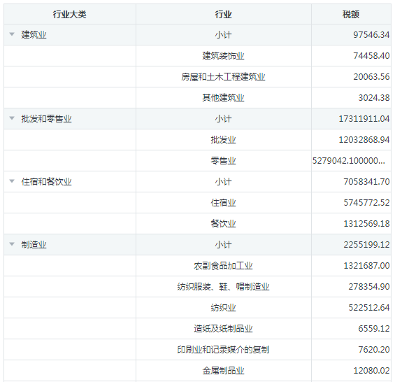
以“行业”通过“行业大类”强制横向导航为例,效果如下图:
3 制作步骤
3.1 模板准备
制作一张报表,将 B3 和 C4 单元格分别设置为“导航格”,航行方向均为“纵向”,如下图:
3.2 纵向导航格设置
由于 B3 和 C4 所在单元格不在同一行,使用默认的导航方式无法满足,因此,需要选中 C4 单元格,在单元格属性中的“纵向导航格”中输入”** B3 **”(这时单元格右上角会显示红色的 A 字符标识),代表 C4 单元格强制跟随 B3 导航扩展,其数据约束关系跟同行/列导航自动导航是一致的。如下图:
3.3 预览
点击[预览],查看强制导航后的展示效果,如下图:
4 实例地址
所属应用:智能报表实例
模板地址:应用空间\lczReport\初级教程\分组报表_错行.hte
作者:fancy 创建时间:2025-05-14 16:03
最后编辑:fancy 更新时间:2025-12-08 15:15
最后编辑:fancy 更新时间:2025-12-08 15:15
扫码关注网盛数新公众号,获取更多帮助资料