主题训练概述
主题训练通过搭建“三库一清单”知识底座,提升AI“知识能力”。用户可通过创建主题的训练样例,并一任务的形式选择主题下指定范围的规则内容与训练样例进行批量对比,不断优化规则库的规则内容,提升AI规则判断准确率。
操作流程
主题训练的操作流程主要分为三步:
1、创建训练样例,在训练样例模块的选择主题,并通过添加或则导入的方式增加样例。(目前仅支持合规检测主题)
2、创建任务,在任务管理模块选择主题,然后新增任务,选择样例配置训练内容,完成创建后执行。
3、查看训练结果,在训练记录模块查看对应任务的执行结果,通过执行结果的对比验证通过不通过判断是否需要优化提示词,并可在执行结果详情查看对应的AI分析结果。
创建训练样例
首先在左侧导航栏找到主题训练模块点击下拉,选择训练样例模块。并在作左侧的主题目录列表找到你需要进行训练的主题,就此进入到训练样例主页。
列表展示样例的业务主键、样例内容、变量、业务链接、样例结论。
点击添加即可创建新的样例,需填写业务主键(非必填,根据实际业务需求,主要作用于后期不同系统导入数据使用)、内容(必填,样例的具体信息描述)、业务链接(非必填,须填写链接地址)样例结论(非必填,为主观判断的这条样例的应有结论,不填写则为空结论样例)、变量(必填,变量内容为主题所配置的变量,列表变量支持额多选,文本变量需填写内容),点击确定即完成样例的创建。
若需要批量导入样例,点击导入按钮,跳出导入弹窗,支持进行导入模板下载,按照导入模板的示例进行填写之后,点击上传,并完善变量信息,点击确定即可完成导入。
这里导入的数据变量将默认跟随导入配置的变量内容。
对于完成创建的样例,支持在样例列表上进行管理。
复制:将复制一个一模一样的样例。
编辑:支持对样例信息进行维护。
删除:从列表中删除此样例信息。
创建任务
在左侧导航栏找到任务管理模块,并在左侧主题目录找到需要创建任务的主题选择,即进入到对应的主题下任务管理页面。
任务管理列表,展示字段任务名称、训练类型、创建人、创建时间、样例总数、通过数、不通过数、空结论数。
点击新增任务,即可创建任务,创建任务分为三步:
1、完善基本信息,需填写任务名称和任务描述。
2、样例选择,从主题下配置训练样例进行选择需要使用的样例,支持点击全选。
3、训练配置,选择训练类型以及规则范围还有模型。
训练类型:基于主题执行训练,默认将主题下所有的知识库进行调用,规则范围未发布/待发布和发布规则将根据知识库的状态来判断,符合规则的知识库将被使用进行训练对话。

基于规则清单需勾选具体的清单,需要点击添加,然后选择知识库以及对应知识库下面的规则清单、自定义规则、案例。

完成三步配置之后即创建完成任务,对于完成创建任务,需要点击执行才能进行训练,执行之后就根据配置的内容,将主题下的知识库和规则样例进行合规校验,并生成训练记录到训练记录模块。
编辑可对任务内的配置进行修改,复制将复制一个一模一样的任务,删除即删除此任务。
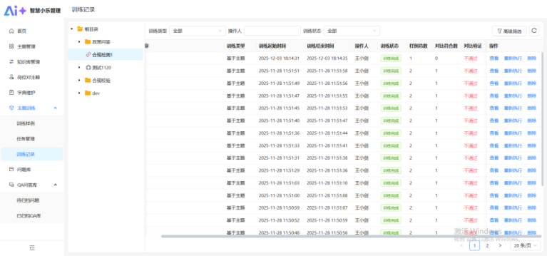
训练记录
在左侧导航栏找到训练记录模块,并在左侧主题目录找到需要查看训练记录的主题选择,即进入到对应的主题下训练记录页面。
训练记录列表,展示字段任务名称、训练类型、训练起始时间、训练结束时间、训练状态(训练中、训练中止、训练异常、训练完成)、样例总数、对比符合数、对比验证。
训练中:正在执行训练。
训练中止:手动点击训练中止暂停了任务,会把当前训练中的样例结束之后再停止。
训练异常:因网络错误、系统原因等情况导致的训练任务执行失败。
训练完成:所有样例都完成训练并有了结果。
对比符合数:样例结论和训练结论一致的数量。
对比验证:若对比符合数等同于样例数量则通过,若不相等则不通过。
查看:可以查看训练记录的详细信息。
重新执行:将此任务重新执行,生成一条新的训练记录。
删除:列表中删除掉此记录。
点击查看进入详情页,即可查看详细训练信息。
列表展示样例内容、变量、业务链接、样例结论、录入人、录入时间、执行状态、训练结果、对比验证、训练详情。
执行状态:待执行(队列中准备执行)、执行中(正在训练对话)、执行成功(完成训练对话)、执行失败(因为系统原因、网络原因导致执行失败)、执行中止(任务点击中止之后导致的待执行样例暂停执行)
对比验证:样例结论和训练结果对比,相同则通过,不相同则不通过。空结论的训练样例,对比验证默认不通过。
训练详情:为AI针对该案例的分析结果。

支持点击预览查看用户端分析界面。
支持点击训练过程,查看调试日志。
通过训练结果的对比校验,可以快速筛选出有问题的样例,并通过训练过程查看对应规则,然后去对应的知识库,调整规则清单、案例、自定义规则能快速提高AI的判断精准度。
最后编辑:曾伟峰 更新时间:2026-05-08 10:51
